起底复星系(一)

以下文章来源于深高投资研究团队

 

《起底复星系》是深高投资研究团队日常的研究报告之一,完成于2022年10月。本报告共计102页7万余字,对复星系的资产及运营状况、偿债能力等方面进行了系统性的梳理和拆解。本次我们发布该报告的目录、摘要及第一章,共计2.5万余字。
【目录】

 

摘要

第一章复星系三十年扩张史

一、1992-2000复旦校友创业时代

(一)地产业务

(二)医药业务

二、2001-2007借力混改国内扩张时代

(一)零售业务

(二)医药业务

(三)钢铁业务

(四)其他业务

三、2008-2016登陆港股后海外扩张时代

(一)消费升级方向

(二)金融业务方向

(三)钢铁矿产方向

(四)不动产等方向

四、2017年至今,投资驱动与存量产业运营并举时代

第二章复星国际业务版图

一、复星国际简介

二、健康板块

(一)复星医药

三、快乐板块

(一)豫园股份

(二)复星旅游文化(Foliday)

四、富足(保险)板块

(一)葡萄牙保险(Fidelidade)

(二)鼎睿再保险(Peak Reinsurance)

五、富足(资管)板块

(一)投资类资管

(二)蜂巢类资管

六、智造板块

(一)海南矿业

(二)南钢股份

七、复星信用主体偿债能力

 

图表目录

图表1:2009年国药控股在香港上市前后的股权架构

图表2:2006年招金矿业上市前夕股权结构

图表3:2009年复星系内部股权变更后的德邦证券持股结构

图表4:2007年复星国际整体上市前夕整体架构

图表5:2015年复星私有化Club Med后的股权结构

图表6:2013年Sisram Medical收购Alma Lasers完成后的股权架构

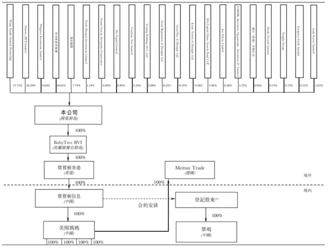
图表7:2018年宝宝树上市前夕股权结构

图表8:2016年复星国际业务版图

图表9:2017年复星系收购青岛啤酒港股上市股份明细

图表10:2018年复星旅文上市前夕股权架构

图表11:2021年复星国际业务布局

图表12:复星国际组织架构(建议在PDF中打开)

图表13:复星国际各业务板块核心主体2021年经营业绩(亿元)

图表14:复星国际各业务板块2022年上半年财务数据(亿元)

图表15:2021年TOP5产业公司贡献了复星国际营业收入的近80%

图表16:复星系公开市场债务偿还节奏一览(亿元)

图表17:复星国际健康板块核心企业股权架构

图表18:2022年6月复星医药董事构成

图表19:复星医药2022年上半年财务表现(人民币亿元)

图表20:复星医药6类药物2022年上半年销售收入表现(亿元)

图表21:复星医药近五年及一期现金流表现(亿元)

图表22:大量处于临床研究及上市申请阶段的项目助推公司制药业务可持续发展

图表23:复星医药上市公司偿债资源统计(亿元)

图表24:2022年6月豫园股份董事构成

图表25:2021年末豫园股份主要管理团队

图表26:豫园股份下属品牌矩阵

图表27:豫园股份2022年上半年经营业绩(亿元)

图表28:2022年上半年,国内社零及限额以上金银珠宝零售增长依然疲软(%)

图表29:复地集团、豫园股份近三年及一期经营口径销售表现(亿元)

图表30:2018年豫园股份资产重组标的项目情况

图表31:2018年豫园股份资产重组后,未并入的复星系下属地产公司后续处置方案

图表32:豫园股份2021年末在建、拟建地产项目明细(亿元)

图表33:金徽酒近年经营业绩较为稳定

图表34:豫园股份近五年及一期现金流表现(亿元)

图表35:福佑路地块是链接豫园商圈与BFC的关键

图表36:福佑路地块是链接豫园商圈与BFC的关键(续)

图表37:豫园股份上市公司偿债资源统计(亿元)

图表38:2022年6月复星旅游文化董事构成

图表39:复星旅游文化2022年上半年经营业绩(亿元)

图表40:欧非中东Club Med度假村分布

图表41:美洲区Club Med度假村分布

图表42:亚太区Club Med度假村分布

图表43:Club Med度假村年容纳能力(万张床位)

图表44:Club Med近年上半年经营业绩

图表45:Club Med近年上半年营业额表现(亿元)

图表46:2022年中,Casa Cook与Cook’s Club下属酒店明细

图表47:三亚亚特兰蒂斯实景

图表48:三亚亚特兰蒂斯主要设施

图表49:三亚亚特兰蒂斯近年上半年经营业绩

图表50:丽江复游城实景

图表51:太仓复游城效果图

图表52:丽江、太仓复游城项目基本情况

图表53:丽江、太仓复游城项目财务数据对比(无特殊注明则单位为亿元)

图表54:德邦海通-复星旅文-三亚亚特兰蒂斯资产支持专项计划交易结构

图表55:复星系历史持股主要保险公司一览

图表56:2022年上半年复星国际保险业务主要保费来源

图表57:Fidelidade保险业务布局

图表58:Fidelidade2022年上半年经营业绩(百万欧元)

图表59:2021年鼎睿再保险毛保费构成

图表60:鼎睿再保险近年经营业绩(亿美元)

图表61:复星国际下属投资类资管资产分布

图表62:2021年 HAL利润表(亿欧元)

图表63:2021年末 HAL资产负债表(亿欧元)

图表64:复星“蜂巢城市”具体类型

图表65:复星蜂巢国内布局示意图

图表66:复星蜂巢海外布局示意图

图表67:复星蜂巢国内布局经营主体一览

图表68:海南矿业董事会构成

图表69:海南矿业近年主要生产经营数据

图表70:海南矿业近年上半年业绩表现(亿元)

图表71:2022年复星高科与沙钢集团交易完成前南钢股份之股权架构

图表72:复星信用主体未来一年需偿还的公开市场债务统计图(亿元)

图表73:复星信用主体未来一年需偿还的公开市场债务统计表(亿元)

图表74:复星信用主体持有股票类资产统计(亿元)

图表75:复星信用主体非上市资产估值测算(亿元)

 

【正文】

摘要

 

本文第一章为复星系30年扩张史,意在梳理复星国际现有资产的形成过程。

 

具体而言,复星系的扩张可分为4个阶段,第一阶段是1992年至2000年复旦校友创业时代,郭广昌联合汪群斌、梁信军、范伟3位复旦校友,以医药业务和地产业务为起点,成立了复星高科。

 

第二阶段是2001年至2007年借力混改国内扩张时代,自1998年起各级政府为扭转国企经营业绩不佳的局面,指导下属国企开始混改,复星通过参与这一进程,入股豫园股份、国药控股、南钢联、海南矿业、招金矿业等主体,业务范围从医药、地产拓展至零售、钢铁等领域。

 

第三阶段是2008年至2016年登陆港股后海外扩张时代,伴随2007年复星国际于港股上市,复星开始进入国际资本市场,彼时金融危机后大量海外资产估值严重下跌,复星以“中国动力嫁接全球资源”战略为指导,一方面收购海外保险牌照,以成本低廉的保险浮存金作为投资资金来源,另一方面大举收购海外品牌并适时引入中国市场,具体标的包括Club Med、Gland Pharma、葡萄牙保险、HAL、洛克石油、One Chase Manhattan Plaza等。

 

第四阶段是2017年至今,复星由投资驱动转入投资驱动与存量产业运营并举。2017年国内监管部门对民营企业于国内融资后大举投资国外的行为开始进行约束,复星海外扩张的步伐开始放缓。2018年中美关系恶化、地缘政治风险提高等问题日益暴露后,复星“投退平衡”的战略更加明确。在原有投资驱动的基础上,复星更加注重对存量产业的运营,并适时退出非核心、非控股资产,收缩产业布局。特别是2022年新冠疫情进入第三年后,复星在现金流与债务偿还方面遭遇较大压力,为筹集偿债资源,公司先后出售了南钢联、青岛啤酒等资产,并减持复星医药、豫园股份等核心子公司股权。

 

在梳理复星国际现有资产形成过程的基础上,本文第二章对当前复星国际的业务布局及核心举债主体的偿债能力进行探究。

 

健康板块方面,复星医药作为核心经营主体,公司未来一年内实际需偿还公开市场债务25.85亿元;考虑到2022年前三季度公司筹资性现金流大幅净流入49.43亿元;制药业务业绩稳定助推公司经营性净现金流实现31.74亿元;同时公司持股上市公司股权市值合计达375亿元,目前均未披露质押;因此预计复星医药未来一年内公开市场债务违约概率很低。

 

快乐板块方面,消费领域主要由豫园股份负责,尽管国内严格的疫情管控措施导致公司2022Q1-Q3经营性、筹资性净现金流分别流出14.11亿元、28.61亿元,但公司未来短期内回款包括:前期出售招金矿业、泰康保险、金徽酒及部分楼盘开盘,以上回款合计达90.82亿元。整体看,公司未来一年需偿还公开市场债务85亿元、支付土地款至多64.65亿元,合计达149.65亿元;公司基本确定的融资现金流回款达90.82亿元;缺口仅为58.83亿元,占公司2022年中报扣除各类可能受限后的货币资金69%。叠加考虑①公司银行端尚未发生净偿还;②公司2022年前三季度经营性净现金流出自上年同期55亿元大幅收窄至约14亿元;③公司仍有超过100亿元可供质押的股票资产;④公司地产板块未新增拿地(不含福佑路)、但仍有存量项目分期推盘考虑,豫园股份未来一年内发生债券违约的概率很低。

 

旅游领域主要由复星旅游文化负责,公司未来一年内面临的公开市场债务到期为“PR01A”优先级67.23亿元将于2023年1月开放退出,考虑到底层资产-三亚亚特兰蒂斯受国内疫情管控影响,现金流不佳,难以保障“PR01A”优先级大比例退出;同时复星旅文境内业务仍未恢复,海外业务虽然有所恢复,但年利润预计仍在10亿元以内,因此预计复星国际可能需要对“PR01A”优先级的退出提供必要资金支持。

 

富足板块方面,保险领域的主要业绩由葡萄牙保险与鼎睿再保险贡献,前者通过对外并购La Positiva等公司不断实现业务扩张,后者再保险业务业绩相对稳定。资管领域一是投资类资管,主要通过德国HAL私人银行等主体开展银行、证券、投资基金等金融类业务;二是蜂巢类资管,核心资产是复星分布于国内外的不动产,其发展战略为借助复星在商业等领域积累的品牌优势,于国内外少数重点城市秉持“产城融合”,打造地产综合体及地标性建筑。虽然富足板块无上市公司主体,公开披露信息较少,但从板块整体经营业绩上看,2022年上半年保险领域受制于全球金融市场波动加剧,利润有所恶化;资管领域的不动产投资仍在稳步推进,业绩同比有所增长。

 

智造板块方面,已上市主体的核心为海南矿业,公司一方面在传统铁矿石业务上拥有石碌铁矿这一亚洲第一富铁矿的资源优势,另一方面通过复星收购的洛克石油拓展油气业务,近期公司积极布局氢氧化锂产能,向新能源产业上游扩张。虽然受制于钢铁行业下游需求不足带来的铁矿石业务业绩压力,但在油气业务的有效补充下,公司整体盈利能力仍相对稳定。

 

除四大业务板块交由核心附属公司经营外,复星国际、复星高科、复地集团3个发债主体自身承担实质性经营业务较少,本文视3家主体及郭广昌个人为同一信用主体。

 

综合看来:①悲观预期下,复星信用主体短期内可动用的偿债资源仅有按0.3质押率质押复星医药、豫园股份融资141.10亿元,对未来一年需偿还公开市场债务386.41亿元、付息支出84.75亿元、对复星旅文“PR01A”优先级全额提供资金支持67.23亿元的保障倍数仅为26.2%。

 

②中性预期下,复星信用主体短期内可动用的偿债资源为按0.5质押率质押A股上市公司股票融资235.97亿元,叠加出售南钢联回款160亿元,合计获得现金流入395.97亿元;同时复星国际2023年4月到期的87.37亿元银团贷款可续作,即复星信用主体公开市场偿还压力仅为299.04亿元债券,外加付息支出84.75亿元、“PR01A”优先级净偿还50%即33.62亿元;则保障倍数为94.86%。

 

③乐观预期下,复星信用主体短期内可动用的偿债资源包括按0.5质押率质押全部上市公司股票融资500.73亿元,叠加南钢联、菜鸟网络出售回款256.17亿元,合计获得现金流入756.90亿元,同时复星国际2023年4月到期的87.37亿元银团贷款可续作,即复星信用主体公开市场偿还压力仅为299.04亿元债券,外加付息支出84.75亿元、“PR01A”优先级净偿还50%即33.62亿元;则保障倍数为181.33%。

 

综合判断,中性预期的落地概率最大。考虑复星额外可能实现的非上市资产退出、再融资逐步边际改善后,未来一年内在复星系特别是海外板块未爆出大规模表外负债的前提下,预计复星信用主体的公开市场债务安全性相对较高。


 

第一章 复星系三十年扩张史

 

一、1992-2000复旦校友创业时代

 

郭广昌于1967年出生于浙江东阳横店一个清苦的农村家庭,1989年自复旦大学哲学系毕业后进入复旦大学校团委工作并担任思想品德课教师,在复旦就读期间曾经营过一些小生意。1992年初邓小平南巡讲话解决了改革开放面临的意识形态质疑,国内市场经济开始迅速起步发展。随即,郭广昌与同在复旦大学校团委工作、1991年毕业于复旦大学遗传工程系的梁信军一同辞职下海,从二人姓名中各取一字作为公司名称,共同出资成立了上海广信科技发展公司。借助二人在复旦校团委工作时带领学生开展暑期社会调查的经验,公司早期从事市场咨询业务,第一桶金来自向台湾元祖食品提供进入上海市场的调研报告。伴随公司业务规模的发展,1992年,汪群斌、范伟、谈剑三人先后加入公司。其中,范伟于1991年毕业于复旦大学遗传工程系,随后进入医药公司从事医学研究,是梁信军同班同学;汪群斌于1991年毕业于复旦大学遗传工程系,随后在复旦大学生命学院团总支工作,是范伟室友;谈剑于1993年毕业于复旦大学计算机科学系,是郭广昌的学生,也是其第一任妻子。参考复星国际招股说明书可知,“创业四人组”郭广昌、梁信军、汪群斌、范伟早期按照58%、22%、10%、10%的股权比例共同出资成立了上海广信科技发展有限公司(简称“广信科技”)、上海复星高新技术发展有限公司(简称“复星高新”)2家公司,随后于1994年由广信科技、复星高新共同出资成立了上海复星高科技(集团)有限公司(简称“复星高科”),早期复星高科的主营业务为地产和医药。2

 

(一)地产业务

 

复地集团:参考复地集团招股说明书可知,1993年“创业四人组”为上海本地房地产开发公司大华提供了销售及市场推广代理服务,网传为帮助销售了一处位于上海郊区、面向留学生群体的滞销楼盘,复星自此进入地产业务领域。1994年8月,复星高科将地产业务从项目营销拓展至项目开发,主导开发的首个房地产开发项目-复星花园收益良好。1998年8月,广信科技与复星高科分别出资5%、95%成立了上海复星房地产开发有限公司(简称“复星房地产”),2000年更名为复地(集团)有限公司。2001年为满足“至少5个发起人才能设立股份有限公司”的公司法规定,复星高科将部分股权转让给大华、上海新长宁及河南信阳信生制药有限公司,前两者曾与复星高科共同开发地产项目,后者日后成为复星医药的一部分。复地(集团)有限公司此后更名为复地(集团)股份有限公司(简称“复地集团”),并于2004年在香港上市(2377.HK)。3

 

2011年,考虑到复地集团海外融资能力非常有限、复星高科受制于关联交易无法为其注入大量资本、公司负债水平较高进而制约融资能力,以及港股估值低迷等因素后,复星国际安排复地集团自H股退市、计划回归A股。但受到A股监管机构收紧房地产企业上市渠道的冲击,复地集团难以实现原定目标,因此2018年复星高科安排豫园股份向浙江复星、复地投资管理等16名均由郭广昌实际控制的对象发行22.75亿股,购买其持有的上海星泓、闵祥地产等 24 家公司的全部或部分股权,实现了复地集团部分资产的重新上市。资产重组完成后,在有关避免同业竞争的承诺约束下,豫园股份成为复星体系内负责地产开发业务的核心主体,负责复星体系内的地产新增投资,复地集团将在存量项目处置完毕后逐渐过渡为投控平台。

 

(二)医药业务

 

复星医药:参考复星医药招股说明书等资料可知,谈剑是复旦大学原副校长、现代遗传学奠基人谈家桢的孙女,而梁信军、汪群斌、范伟3人均毕业于遗传工程系,因此1994年广信科技联合上海永信咨询有限公司、上海复生生物工程研究所和部分内部职工注册成立了上海复星实业公司,正式进入医药业务领域。复星医药“第一桶金”来自1995年成功实现PCR乙型肝炎诊断试剂产业化,1998年公司于上海上市,成为上海首家民营上市企业,5 2004年公司更名为上海复星医药(集团)股份有限公司(简称“复星医药”)。

 

2002年5月,复星医药收购了从事仿制药制造及销售的药友置业51%股权;2004年3月,复星医药收购了抗疟疾药的专业生产商-桂林制药60%股权;2004年5月,复星医药受让了此前由复星产投持有的国药控股49%股权;2004年12月,复星医药收购了主要开展胰岛素及糖尿病药物研发、产销的万邦医药75.2%股权;2010年,复星医药发起成立了复宏汉霖,专门从事单克隆抗体的研发及商业化;2011年9月,复星医药收购了奥鸿药业70%股权,后者原研产品邦亭(注射用白眉蛇毒血凝酶)在国内同类产品市场销售排名第三,是止血药领域的知名品牌;原研产品奥德金(小牛血清去蛋白注射液)为国内首创的治疗神经功能缺损等疾病的生物制剂,是脑血管和外周血管治疗剂细分领域的领导品牌。2012年复星医药于香港联交所主板挂牌上市。6 通过收购为主、设立为辅的一系列扩张,复星医药的主营业务虽然仍聚焦于制药板块,但其业务规模在短期内获得了很大提高,同时参股国药控股49%也为公司利用这一全国领先的医药分销网络、与之不断开展战略合作创造了有利条件。7

 

二、2001-2007借力混改国内扩张时代

 

参考原国家经贸委副秘书长邵宁回忆,1997年末全国共有6599户国有及国有控股企业亏损,国有企业不计潜亏的亏损面是39.1%,其他所有制企业大约为30%。党的十五届一中全会正式提出国有企业改革和脱困目标:“从1998年起,用三年左右的时间,通过改革、改组、改造和加强管理,使大多数国有大中型亏损企业摆脱困境,力争到本世纪末大多数国有大中型骨干企业初步建立起现代企业制度。” 在国企改革过程中,混合所有制改革是官方鼓励的改革方式之一,复星等一众民营资本开始借此大举扩张国内业务版图。

 

)零售业务

 

豫园股份:豫园本是位于今上海市黄浦区的一座明代私人园林,毗邻上海老城隍庙,享有“奇秀甲于东南”之美誉,是老上海人心中的城中心之所在。1961年,豫园成为对外开放的著名景点,并带动周边区域成为上海市炙手可热的商业聚集区。1992年,朱镕基视察豫园后提出要设立一个专门的企业负责豫园地区的改造、建设与经营,上海市政府随后组建了上海豫园旅游商城股份有限公司(简称“豫园商城”),同年豫园商城在上海上市,成为“老八股”之一。2001年,豫园商城在上级政府指导下尝试混改,公司第一大股东、黄浦区属国有企业-上海豫园旅游服务公司与复星高科草签了《股权转让协议》,拟将自身持有豫园商城13.25%的股份全部出售给复星高科。由于豫园商城经营位置较好,下属老庙黄金、亚一金店等品牌销售现金流稳定,因此这一混改当即引发各方资本追捧。为争取黄浦区政府支持,2001年11月,复星高科与广信科技分别出资90%、10%,在黄浦区成立了上海复星产业投资有限公司(简称“复星产投”),企业法定住所为上海市黄浦区复兴东路2号(目前已改为上海市浦东新区康桥镇康士路25号269室)。复星产投作为控股公司,本身无实质性经营业务,当时向黄浦区缴纳税收。由此,复星产投代替复星高科作为交易主体,分别于2001年11月、2002年6月向上海豫园旅游服务有限公司、上海豫园(集团)有限公司收购了豫园商城13.25%、6.75%的国有股,复星系开始成为豫园商城的单一最大股东。10 2018年7月,复星系完成豫园股份重大资产重组,对豫园商城的持股比例上升至68.49%,2019年公司更名为上海豫园旅游商城(集团)股份有限公司(简称“豫园股份”)。11

 

)医药业务

 

国药控股:2002年,中国医药集团总公司(简称“国药集团”)下属的医药流通业务陷入经营困难,谋求通过混改走出困境。考虑到国药集团在全国建立的跨省市销售网络能与复星自身的制药业务形成协同,因此2003年1月,上海复星产业投资有限公司(简称“复星产投”,系复星国际有限公司00656.HK的间接全资附属公司)以5亿元现金出资占比49%,国药集团以医药流通业务的存量资产出资占比51%,共同设立了国药控股股份有限公司(简称“国药控股”),后者成为中国医药商业领域第一家央企与民营企业联合成立的混合所有制企业。2009年经历多次改制后的国药控股在香港上市(1099.HK),成为当时自2000年以来全球医药行业最大规模的IPO,截至2018年公司已成长为中国最大、全球前三的医药分销与供应链服务提供商。12

 

图表1:2009年国药控股在香港上市前后的股权架构

数据来源:国药控股招股说明书等 13,深高投资

 

(三)钢铁业务

 

建龙钢铁:1998年12月,与郭广昌同为浙江人的张志祥自当地物资局辞职后创办钢铁厂已有4年,此时在铁矿石资源丰富的唐山遵化,遵化市政府拟将濒临破产的遵化钢铁厂整体出租、以期盘活,张志祥最终获得5年租约,并以此成立了建龙钢铁。1999年,建龙钢铁复制遵化钢铁厂模式,整体租赁了遵化长城钢铁,租期3年。在此期间,坊间传闻张志祥与郭广昌在参加某场会议时被安排同住一间,均为浙江人的两人相谈甚欢,张成功说服了郭进入钢铁行业。14 2002年8月,复星产投与复星高科分别投资3.397亿元、0.117亿元获得唐山建龙实业有限公司29%、1%的股权,后者继续经营原有钢铁业务。通过这一入股行为,复星高科开始积累钢铁行业运营经验,业务范围逐步拓展至矿业领域。15

 

宁波建龙钢铁:2003年1月,唐山建龙持股35%、复星系的南钢联持股35%、新希望系作为第二大股东的福建联华国际信托投资有限公司持股5%(简称“联华信托”,今兴业信托),联合2家境外机构-香港AT&N International Holding Ltd及美国Crown Praise Limited共同成立了宁波建龙钢铁有限公司(简称“宁波建龙钢铁”),意在利用宁波北仑港的深水港优势发展钢铁业务。但2004年,宁波建龙钢铁因违规审批成为继江苏铁本后又一个被国务院查处的违规钢铁项目,项目被迫停产。在浙江省、宁波市的争取下,宁波建龙钢铁最终获准向国务院重新申报审批,建龙、复星、新希望三大民企放弃控股地位后完全退出,2009年2月,南钢联以7.2亿元对价将持有宁波钢铁20%股份出售予杭州钢铁。16

 

南钢联:2003年3月,南京钢铁集团有限公司(简称“南钢集团”)以所持南京钢铁股份有限公司(简称“南钢股份”、600282.SH)70.95%的股权及其他11亿元净资产出资,复星系(复星高科、复星产投、广信科技)以16.5亿元现金出资联合成立了南京南钢钢铁联合有限公司(简称“南钢联”),南钢联成为南钢股份的新第一大股东,自此复星系开始以南钢联为核心大力拓展自有钢铁业务。早期,复星系对南钢联几乎只是财务投资,对原管理层及内部机制并无太多变化,企业经营决策仍然需要层层上报,只不过最终决策方由国资变为了复星系。17 2009年,南钢股份收购第一大股东-南钢联全资持有的南京南钢产业发展有限公司,实现南钢体系钢铁业务整体上市。18 截至2022年6月末,复星高科直接、间接累计持有南钢联60%股份,南钢联直接、间接累计持有南钢股份59.12%股份。2022年10月,复星高科公告拟转让所持南钢联全部股份予江苏沙钢集团有限公司,交易对价不超过160亿元,后者需在首期股权质押登记完成日附近累计支付诚意金80亿元。19

 

海南矿业:2007年,拥有亚洲第一富铁矿-石碌铁矿的海南钢铁公司剥离社会职能,开始进行混改。海南钢铁公司以铁矿石采选业务等相关经营性资产评估后的净资产出资6亿元,复星系(复星高科、复星产投)以货币资金出资9亿元共同成立了海南矿业联合有限公司(简称“海矿联合”)。与豫园商城的混改过程类似,为争取海南省政府支持,复星系同样在现金出资以外提供了其他配套,如在《关于海钢项目约束条件及规划项目实施计划的框架协议》中承诺,在海矿联合成立后3年内,将与合作伙伴落实海南钛、锆项目,或在海南投资达到20亿元。20 2010年8月,海矿联合整体变更为股份公司,即海南矿业股份有限公司(简称“海南矿业”),2014年12月,海南矿业于A股上市(601969.SH)。

 

(四)其他业务

 

招金矿业:由于豫园商城的最大收入来源是依托老庙黄金、亚一金店开展的黄金珠宝零售,因此为拓展黄金业务的上游,2004年4月,复星系4家主体(复星产投20%、豫园商城20%、深圳市广信投资有限公司4%、上海老庙黄金有限公司1%)通过现金出资持股45%,与山东省烟台市招远市政府下属的山东招金集团有限公司联合成立了招金矿业股份有限公司(简称“招金矿业”,1818.HK),后者于2006年H股上市,主要从事金矿开采业务。

 

图表2:2006年招金矿业上市前夕股权结构

数据来源:招金矿业招股说明书 21,深高投资

 

德邦证券:由于复星系对外投资较多,客观上需要整合集团内部资源、加强投资研究配套等,因此2003年5月,复星系(豫园商城30%、复星产投19.7%)以现金形式,与上海申新(集团)有限公司、天津金耀集团有限公司共同出资,在合并沈阳市信托投资公司、沈阳国际信托投资公司、丹东国际信托投资公司、抚顺市信托投资公司各自证券部的基础上,组建了德邦证券有限责任公司(简称“德邦证券”)。后者自2017年聘请中介机构起开始筹备上市,迄今仍未落地。2009年2月,经过复星系内部股权变更后,豫园商城、上海兴业投资发展有限公司分别持有德邦证券32.73%、19.74%的股份。22

 

图表3:2009年复星系内部股权变更后德邦证券持股结构

数据来源:复星国际披露,深高投资

 

通过上述资本运作,截至2007年7月复星系整体上市前夕,复星系的业务版图已经扩张到如下图所示。其中复星高科以上层级的复星国际控股、复星控股、复星国际均为复星系为筹备整体上市而设立的纯控股平台;除后来于2008年完全退出的宁波钢铁外,复星系业务经营核心主体大部分完成了A股或H股上市。

 

图表4:2007年复星国际整体上市前夕整体架构

数据来源:复星国际招股说明书,深高投资

注:图中股权百分比等价于投票权。图中考虑了复星医药间接持股复地集团10%、复星医药间接持股国药控股40%、复星产投间接持股南钢联10%、复星产投对德邦证券尚需批准的增持10%、复星产投间接持股建龙集团26.7%、豫园商城间接持股招金矿业0.7%。

 

三、2008-2016登陆港股后海外扩张时代

 

2007年,经历了近三年上市辅导后,复星国际有限公司(简称“复星国际”,0656.HK)于H股上市,自此进入国际资本市场。紧接着,2008年美国次贷危机直接引发了全球经济衰退,大量海外资产的估值严重下跌,甚至已明显跌破公允水平。在这种环境下,复星国际提出“中国动力嫁接全球资源”战略,意在发掘一些价值被严重低估的海外标的,通过将其海外品牌和产品引入居民收入正在快速增长的中国市场,最终实现投资增值。23

 

从投资方向上看,复星系重点布局消费升级和保险两大业务领域。其中,发力消费升级的出发点是受益于全球化浪潮,中国国内居民的收入正在快速增长,而居民部门杠杆率与国外发达国家相比仍有较大提升空间,因此复星认为应当聚焦企业对接家庭(B2F)、特别是聚焦中产家庭的生意。发力以保险为核心的金融业务则是复星出于更加长期的发展路径考虑,梁信军表示对标过很多国际大公司后,2007年复星确立了“巴菲特模式”,即仿效伯克希尔哈撒韦公司,利用成本极低的保险浮存金开展对外投资。此外,在矿产方面围绕钢铁、黄金、石油等细分领域,复星系也有部分涉足。24 由于刚刚涉足国际市场,相关投资经验积累不深,因此2010年初,复星系聘请了美国前财长约翰·斯诺作为董事会顾问,并与当时全球最大的私募股权基金-凯雷投资集团达成全球战略合作协议。

 

(一)消费升级方向

 

地中海俱乐部(Club Med): Club Med成立于1950年,是一站式旅游度假村概念的创始者,于巴黎证券交易所上市。但截至2010年,公司已连续5年亏损、市值低迷,特别是2009年金融危机导致为其贡献90%收入的欧美业务遭遇重创,公司亏损5300万欧元。复星高科与之接触后认为,全球旅游产业特别是休闲旅游的市场空间非常庞大,但在国内几乎是一片空白,未来仍有很大发展空间。因此2010年6月,复星高科小规模入股Club Med,投资2.1亿元获得其7.1%股权(含可赎回债券),25 随后仅用时6个月便协助其在黑龙江的亚布力开出第一家滑雪度假村,截至2013年,中国市场已成为地中海俱乐部在海外的第三大市场,桂林、珠海东澳岛等度假村顺利开业。26 由于双方合作效果较为显著,因此复星系于2013年5月对Club Med提出私有化控股,复星系收购Club Med的总对价约为9.16亿欧元,其中2.8亿欧元为EURIBOR+2.75~5.5%/年的贷款融资、6.41亿欧元为股本融资(4.33亿欧元现金+价值约2.03亿欧元的已持有股票)。27 Club Med在2015年2月私有化完成后成功扭亏为盈,此后3年经营利润年复合增长率达26%。28 作为复星系首个海外投资成功案例,收购地中海俱乐部为复星此后大规模开展全球化布局贡献了宝贵经验。

 

图表5:2015年复星私有化Club Med后的股权结构

数据来源:复星旅文招股说明书,深高投资

 

分众传媒:2008年11月,复星国际在纳斯达克公开市场买入分众传媒美国存托股份,持股比例约13.33%。分众传媒是国内最大的数字化媒体集团之一,复星国际声称作为战略投资,分众传媒近期股价表现是良好的买入机会。29 截至2009年3月26日,复星国际已持有分众传媒28.65%的已发行股本。30 2010年9月,复星国际仍持有分众传媒约26.3%的已发行股本,分众传媒以2亿美元的对价回购其中约19.65%。31 2011年7月,分众传媒斥资约6000万美元继续回购。32 11月,复星系继续买入分众传媒美国存托股份,持股比例上升至16.42%。33 2012年12月,复星国际与分众传媒签订滚动协议。34 2013年5月,复星国际已不再实际拥有任何美国存托股份或分众传媒股份。35

 

美中互利(Chindex):2009年,复星医药通过下属控股公司复星实业(香港)有限公司(简称“复星实业”)以银行贷款合计2200万美元于二级市场买入Chindex International Inc.(简称“美中互利”,纳斯达克原上市代码CHDX)约11.18%的普通股股份。美中互利是一家面向中国市场(包括香港)提供医疗健康服务并供应大型医疗设备、装备和产品的美国医疗健康公司,旗下经营的和睦家医院 (United Family Hospital)和诊所网络已覆盖北京和上海。36 2010年6月,美中互利同意分两次向复星实业定向发行A类普通股,复星实业被获准通过上述购买及其他交易方式,至多可持有美中互利本次股票发行完成后其发行在外普通股总数的 25%,交易总对价为2986万美元,资金主要用于和睦家医院和诊所网络的扩展。37 此后,复星实业在二级市场多次继续增持中美互利股份。38 2010年12月,复星医药与中美互利就医疗器械业务整合达成协议。39 截至2014年2月14日,复星实业持有美中互利17.45%股份,3位自然人大股东合计持有9.48%股份,剩余股份由公众股东持有。复星实业拟以其全部持股,外加不超过1.9374亿美元现金的总对价,参与美中互利的私有化退市工作,交易完成后复星实业对Healthy Harmony Holdings L.P.及其全资附属公司-美中互利的持股比例上升至48.65%。40 2019年7月,纽交所上市公司NFC公告拟收购Healthy Harmony Holdings L.P.全部股份,后者估值为13亿美元;复星实业对Healthy Harmony Holdings L.P.持股比例约为42.64%,总对价达5.2315亿美元,其中约4.3亿美元以现金支付,另9400万美元将用于认购NFC6.62%的股份。41

 

复锐医疗科技(Sisram):2013年4月,复星医药通过Sisram Medical拟收购Alma Lasers约80%-95.6%的股权,总对价不超过2.4亿美元,复星医药及复星保德信中国机会基金对这笔交易提供担保,Sisram Medical系为完成该收购而成立的专门主体。42 5月,Sisram Medical最终出资2.2163亿美元获得Alma Lasers95.2%股权,企业价值评估为2.2亿美元。43 2016年6月,Sisram Medical完成对Alma Lasers全部股份的获得。2017年9月,Sisram Medical于香港联交所上市。44 自1999年Alma Lasers的前身MSQ成立以来,公司一直从事医疗美容器械的生产及销售业务。45

 

图表6:2013年Sisram Medical收购Alma Lasers完成后

股权架构

数据来源:复锐医疗科技(Sisram Medical)招股说明书,深高投资

 

禅诚医院:2013年10月,复星医药通过全资附属公司-上海医诚医院投资管理有限公司斥资6.93亿元收购佛山市禅城区中心医院60%股权。截至2013年中,该医院收入、结余、净资产分别为2.8亿元、5178万元、3.26亿元。46 股权交易后,复星持股60%,剩下的40%股份中,24%仍然为禅城区中心医院职工持有。

 

三元股份:2014年2月,复星国际通过附属公司上海平闰投资管理有限公司、上海复星创泓股权投资基金合伙企业(2011年12月成立,开展除房地产、医药、钢铁、矿山行业以外的股权、债权等投资 47),通过认购三元股份(600429.SH)非公开发行A股股票的形式,以6.53元/股、总价20亿元的成本持股三元股份20.45%。48

 

Studio82014年6月,复星国际披露投资于Studio 8, LLC(Studio 8),后者由华纳兄弟前总裁Jeff Robinov创办,复星系希望借此将成熟的电影制作发行经验引入中国市场。49

 

博纳影业:2014年7月,复星国际通过收购后持股80%的Fidelidade以4916万美元的对价收购博纳影业(纳斯达克:BONA)13.3%的股权,持股比例由7.5%增长至20.8%。50 2022年8月,已经自美股退市的博纳影业在A股重新上市,但复星已不再持股。

 

TomTailor2014年7月,复星国际通过收购后持股80%的Fidelidade及其直接持股51%的FCM Beteiligungs GmbH分别收购TOM TAILOR Holding AG(Tom Tailor)(法兰克福上市TTI: Xetra)15.51%和7.65%的股权。Tom Tailor主要运营旗下牌 TOM TAILOR 和 BONITA两个品牌,提供中等价位的个性休闲服饰及饰品。51 2019年2月,复星国际出资870万欧元参与Tom Tailor定增,持股比例由28.89%上升至35.35%。2017年Tom Tailor税后净利润达202.6万欧元,2018年中总资产、净资产分别为6.65亿欧元、2.24亿欧元。52 2019年4月,复星国际向Tom Tailor发出自愿公开收购要约,计划以2.31欧元/股的价格、斥资不超过7798万欧元收购复星国际尚未直接持有的全部股份。53 交易最终完成后,复星国际出资2409万欧元获得Tom Tailor约24.63%股权、豫园商城通过间接全资附属公司上海豫瑾(德国)有限责任公司出资2934万欧元获得Tom Tailor约29.99%股权,复星系持股比例上升至76.75%。54

 

LuzSaude(原ESS):2014年9月,复星国际通过收购后持股80%的Fidelidade对ESPÍRITO SANTO SAÚDE – SGPS, SA(里斯本泛欧交易所上市代码:ESS)发出收购要约,拟斥资不超过4.51亿欧元以4.72欧元/股的对价收购ESS全部股份。作为主要从事急症护理医院、门诊诊所、住院医院、服务式长者住宿、葡萄牙国家卫生服务体系(NHS)公私合营(PPPs)医院的医疗保健集团的控股公司,ESS在2013年实现税后净利润1410万欧元,年末总资产、净资产分别为4.777亿欧元、1.432亿欧元。55 3天后,复星系收购价格由4.72欧元/股提高至4.82欧元/股,总对价由4.51亿欧元提高至4.615亿欧元。56 10月,复星系再度提高收购价格和总对价分别至5.01欧元/股、4.787亿欧元。57 有评论指出,一方面与其他因遭受经济危机冲击而被迫抛售资产的欧元区国家一样,葡萄牙向中国企业出售了大批公用事业企业和基础设施运营商的股权,如因控股子公司、葡萄牙最大上市银行Banco Espirito Santo陷入破产境地而被迫出售ESS的圣灵家族。另一方面复星系近期海外并购动作频繁,入主ESS的操作十分类似复星曾加入由私募股权巨头德州太平洋集团(TPG)牵头的财团,收购在美国上市的中国连锁医院美中互利(Chindex)。58 最终,2014年10月15日,复星国际公告以5.01欧元/股的收购价格,由Fidelidade支付4.5983亿欧元,获得ESS注册股本约96.07%的投票权,ESS更名为Luz Saude。59

 

ThomasCook2015年3月,复星国际通过持股84.9861%的Fidelidade – Companhia de Seguros, S.A.间接全资附属公司FPI (UK) 1 LIMITED以9185万英镑参与Thomas Cook Group plc(Thomas Cook,伦敦交易所股票代码:TCG)股票定向增发,持股比例达5%。同时复星系计划未来将持股比例逐步增加至不超过10%。Thomas Cook 为世界领先的休闲旅游集团之一,业务遍及全球15个客源市场。6061 2019年9月,Thomas Cook宣告破产,11月复星旅游文化公告斥资1100万英镑收购Thomas Cook品牌(知识产权资产)及下属Casa Cook、Cook’s Club等品牌,Casa Cook、Cook’s Club分别为精品酒店品牌和海滩酒店品牌,复星旅游文化具体收购资产包括品牌相关的商标、域名、软件应用、社交媒体账户及许可等。此前,英国最大的独立旅行社Hays Travel(海斯旅行社)已宣布收购并重开Thomas Cook的555家线下门店。62

 

太阳马戏团:2015年4月,复星国际通过全资附属公司-复星产业控股有限公司,与国际私募TPG为收购太阳马戏团而成立的有限合伙企业-TPG VII CDS Holdings签订协议,为后者收购Cirque du Soleil(太阳马戏团)多数权益提供部分资金及担保。63 但2020年,在新冠疫情的直接影响下,太阳马戏团进入破产保护阶段,复星作为持股25%的第二大股东蒙受了一定损失。64

 

Ahava2016年4月,复星国际以2.9亿新谢克尔(约合4.96亿元人民币)的价格全资收购以色列著名高端死海矿物护肤品牌Ahava。65 成立于1998年的AHAVA是原创于死海地区的死海矿物护肤品牌,也是唯一经过以色列政府批准可以开发死海资源的公司。该笔收购为2011年复星主动退出与平安、海航同台竞购上海家化混改后,首次正式介入日化领域。66 2020年6月,豫园股份通过全资子公司豫园美丽健康集团投资收购复星津美74.93%的股权,进而获得复星津美旗下以色列护肤品牌AHAVA、草本护肤品牌WEI等化妆品品牌。据公告披露,2019年AHAVA的营业收入约4.55亿元、净利润约0.18亿元。67

 

Gland Pharma2016年7月,复星医药拟出资不超过12.61亿美元收购Gland Pharma Limited约79.997%股权,同时认购约占公司约6.083%股权的可转换优先股。Gland Pharma Limited于1978年成立于印度,是印度第一家获得美国FDA批准的注射剂药品生产制造企业,拥有符合欧美等全球各大法规市场的GMP认证生产线,并具备在以美国为主的法规市场药品注册申报及销售能力。由于1970年时任印度总理甘地修订专利法,允许自专利授权日起满3年,在公众合理要求未能得到满足或公众无法以合理价格获得此专利的情况下,任何人均可请求专利局授予其实施该专利的强制许可,因此印度药企大量获得仿制药生产许可,只需承担制造成本而不支付原研药的研发成本,印度制药行业快速发展。虽然1994年印度加入WTO后逐步强化了专利保护政策,但有赖于二十余年的行业发展积累,印度药企积累了足够的研发技术与生产能力,同时与西方发达国家的医药标准如美国FDA认证高度接轨,因此目前在全球仿制药领域依然占据着近20%的供应链,享有“世界药房”的称誉。68 2016年,考虑到收购Gland后,一方面复星能够借助Gland丰富的国际药物注册经验和生产成本优势,加快旗下药物的国际化进程,提高在针对市场的占有率;另一方面Gland也能享受复星在原料药领域和中国市场占有率领域的优势,因此复星公告拟收购Gland控股权益。69 为完成该收购,复星医药拟向金融机构申请不超过8亿美元的贷款。70 但由于复星医药初始拟收购的Gland股份比例(86.08%)已超过印度政府对海外投资的自动获批额度,因此复星系用时一年有余争取各国监管批复,最终复星系将拟收购比例下调至印度允许的FDI投资自动批准上限,即74%(自KKR及创始人股东收购57.891%股权、自Vetter家族收购10.026%股权、认购约占6.083%股权的可转换优先股),斥资10.913亿美元完成交易。71 2020年7月,复星系计划将Gland Pharma Limited于印度分拆上市,11月后者正式上市。72 

 

狼队(英超):2016年7月,复星自从前任主席史蒂夫摩根手中以4500万英镑(首期3000万英镑、晋级英超后支付1500万英镑)收购狼队100%股份。作为英国历史最悠久的足球俱乐部之一,狼队成立于1877年,是1888年成立的足球联盟创始成员之一。曾经获得过10次联赛冠军(其中3次顶级联赛冠军)、4次足总杯冠军、2次英格兰联赛杯冠军。73 从收购原因上看,复星系计划发力体育板块时研究了近15家欧洲足球俱乐部标的,其中德国不允许企业控股俱乐部,而意大利和西班牙经济环境较弱;此外,五大联赛中英超拥有丰厚的球票收入和电视转播分成,盈利能力最强;狼队虽然阵容较差,尚未跻身英超联赛(位于英冠),但收购价格较低、历史债务较少。因此复星系最终计划“以相对低的价格,进入相对干净和有潜力的资产,通过努力,一步步经营争取成为更好的俱乐部”。74

 

复宏汉霖:2016年8月,复星医药通过间接全资附属公司上海复星新药研究有限公司出资成立,持股比例达71.34%的上海复宏汉霖生物技术有限公司拟改制后于新三板挂牌。75 该公司于2010年成立于中国上海,专注于研发单克隆抗体药物,这类药物在自身免疫疾病及癌症治疗中发挥着至关重要的作用。成立之初,复星医药通过上海复星新药研究有限公司持有复宏汉霖74%的股份,对应注册资本约592万美元。2018年9月,复宏汉霖撤回新三板挂牌申请并计划于港交所上市。76 2019年9月,改制后的上海复宏汉霖生物技术股份有限公司(简称“复宏汉霖”,2696.HK)于港交所上市。77 2020年3月,复宏汉霖拟于国内科创板同步上市,但迄今仍未成功。78 截至2021年末,复星医药间接持有复宏汉霖57.48%的股份,并将其纳入合并报表。由于复宏汉霖主攻的单抗类药物属于生物医药前沿技术,因此大量费用化的研发支出叠加新药仍未大规模商业化因素影响下,公司自上市至今一直保持亏损状态。79 2021年,复宏汉霖资产规模达71.73亿元,营业收入达16.83亿元、净利润为亏损9.84亿元。

 

宝宝树:2016年11月,母婴服务平台-宝宝树集团获得新一轮约30亿元融资,由复星高科领投。2018年2月,宝宝树于港交所上市(1761.HK)。2018年5月,宝宝树进一步获得阿里巴巴通过全资附属公司淘宝中国提供的2.14亿美元投资,公司投资人中还有滨江等浙江民营企业。80

 

图表7:2018年宝宝树上市前夕股权结构

数据来源:宝宝树招股说明书,深高投资

 

Breas:2017年1月,复星医药公告称通过全资附属公司复星实业与复星国际全资附属公司复星产控,按55%、45%股权比例共同出资设立SPV(Fosun Medical Holdings),由SPV通过股权转让及认购增发股份形式获得Goldcup 14112 AB约80%股权,交易总对价不超过9000万美元,后者后续更名为Breas Medical Holdings AB,估值约为1亿美元。81 公司于1991年成立于瑞典哥德堡,是研发、生产和销售专业呼吸通气类医疗设备的一体化公司,已在欧美众多国家被纳入医保范围,旗下14款不同的医疗设备覆盖逾40个国家或地区。2019年5月,Fosun Medical Holdings出资3000万美元受让Breas剩余20%股权,实现全资持有,但2019年Breas为复星医药贡献净利润-5415万元人民币,经营业绩不佳。82

 

(二)金融业务方向

 

事实上,早在2008年复星系便曾试水获得金融牌照。2008年2月,复星国际通过复星医药、复星产投、上海复星工业技术发展有限公司以增资扩股形式入股原已资不抵债的永安财产保险股份有限公司(简称“永安财险”),永安财险注册资本由3.1亿元上升至16.632亿元,复星系持股比例达17.2%。83 自2011年起,一方面由于全球金融危机导致很多海外金融企业的估值严重下降,部分企业价值被低估;另一方面受制于国内监管较严,复星通过收购等方式控股国内既有金融牌照的可能性较低。因此复星系开始发力获取海外金融牌照特别是保险牌照,以践行利用廉价保险浮存金对外投资扩张的所谓“巴菲特模式”,同时在国内也积极通过新设方式获取金融牌照。

 

复星保德信人寿:2011年1月,复星国际与保德信金融集团(简称“保德信”)签订无约束性备忘录,双方分别出资不少于1亿美元、5亿美元成立复星-保德信投资计划,投资于涉险国家为中国的标的。84 2011年9月,复星国际披露拟通过上海复星工业技术发展有限公司与独立第三方Prudential Financial, Inc.美国保险分支机构The Prudential Insurance Company of America各半出资,联合成立境内合资人寿保险公司。85 2012年9月,复星保德信人寿保险有限公司(简称“复星保德信人寿”)开业,复星国际与Prudential Financial, Inc.分别出资2.5亿元。86

 

鼎睿再保险:2013年1月,复星国际通过间接附属公司与国际金融公司共同出资成立了鼎睿再保险有限公司(简称“鼎睿再保险”),后者注册资本达5.5亿美元,复星系持股85.1%。87

 

葡萄牙保险集团(Fidelidade):2013年12月,复星国际披露就收购葡萄牙Caixa Geral de Depósitos S.A.,(CGD)拥有的 Caixa Seguros e Saúde, SGPS, S.A.(CSS)中若干保险资产递交了有约束力的竞标方案;此后于2014年1月披露中标。88 2014年2月,复星国际通过间接全资附属公司Millennium Gain Limited出资10.38亿欧元,向Caixa Geral de Depósitos S.A.,(CGD)的直接全资附属公司Caixa Seguros e Saúde, SGPS, S.A.,(CSS)收购相当于Fidelidade、Multicare 及 Cares各自80%股本及投票权的股份。收购标的(3家合计)2013年税后净利润为9.58亿元,年末资产和净资产规模分别为1076.35亿元、107.17亿元。CGD是葡萄牙最大的国际银行,在葡萄牙境内有超过800个分行,截至2013年9月CGD于客户贷款及存款方面的市场份额分别为21.6%和28%。CSS作为葡萄牙最大的保险集团,约占葡萄牙保险市场的30%市场份额,核心优势之一在于能够独家使用CGD的优质分销网络。89

 

BHF2014年3月,复星国际及其管理的某基金承诺出资9850万欧元,进而分别持有Billion Infinity Investment Limited(Billion Infinity)约50%的股权,以此参与Kleinwort Benson Group Limited(KBG)与RHJI联合主导的对BHF Bank全资收购事项。BHF Kleinwort Benson Group SA (BHF Bank,布鲁塞尔泛欧交易所上市)是一家总部位于德国的私人银行;KBG由Billion Infinity持股19.18%、RHJ International(RHJI)持股65.78%、AQTON SE(德国企业家Stefan Quandt全资持有的战略投资企业)持股12.4%、Timothy C. Collins关联实体持股2.65%。90 2014年8-9月,Fidelidade 在公开市场以总价1045万欧元收购了相当于RHJI股本2.03%的股票。9月,Billion Infinity将其持有KBG的19.18%权益转换为其母公司RHJI的股份,此后Billion Infinity 持有RHJI约17.46%的股份。2015年3月,复星国际通过间接持股51%的Billion Infinity、间接持股84.986%的Fidelidade两家公司合计斥资5914.43万欧元收购RHJI约9.12%的股权,复星国际对RHJI的间接持股比例由19.49%攀升至28.61%。2015年7月,复星国际通过间接全资附属公司Billion Eastgate对BHF Bank发起要约收购,拟斥资不超过5亿欧元获得后者22.49%以上的股份。91 但2015年12月,复星撤回这一收购要约。92 RHJ International SA(布鲁塞尔泛欧交易所上市代码:RHJI)作为一家主营财富管理、资产管理和商业银行的金融服务集团,财富管理业务主要通过Kleinwort Benson Bank Limited 及 BHF-BANK AG 经营,公司2013年除税及已终止业务业绩后亏损幅度由上年8440万欧元收窄至6640万欧元,2013年末总资产及净资产规模分别为29.578亿欧元、5.222亿欧元。93 BHF KB为一家商业银行集团的控股公司,在欧洲全资拥有3家金融服务类附属公司,分别为BHF Bank(德国)、Kleinwort Benson(英国)、及Kleinwort Benson Investors(爱尔兰),同时公司还持有Quirin Bank(德国)少数权益。94 2016年1月,复星进一步将持有BHF 28.61%的权益(Billion Infinity持有19.87%、Fidelidade持有8.74%)以每股5.75欧元,共2.18亿元的对价出售予Oddo,后者为一家拥有160余年历史,主要从事投行与资本管理业务的法国金融集团。95

 

Ironshore2014年8月,复星国际通过间接全资附属公司Mettlesome Investments Limited以4.64亿美元参与定向发行获得Ironshore全部流通普通股的20%。Ironshore作为控股公司通过附属公司名下的多个国际平台,为全球客户提供经由经纪人渠道的专业商业财产和意外伤害保险服务,2013年除税及非经常性项目后净利润为9754万美元,总资产及净资产分别为57.6亿美元、17.42亿美元。96 2015年11月,复星国际通过间接全资附属公司Mettlesome Investment 2完成对Ironshore的全资收购。97 2016年3月,复星国际公告称计划将Ironshore于纽交所或纳斯达克进行分拆上市。98 2017年5月,复星国际最终将Ironshore100%股权以29.35亿美元对价出售给Liberty Mutual,后者为位居当年《财富》美国企业100强名单的保险集团。99

 

AmeriTrust(原MIG):2014年12月,复星国际通过间接全资附属公司Miracle Nova II (US), LLC与Meadowbrook Insurance Group, Inc.,(纽交所上市NYSE:MIG)达成交易,Miracle Nova II (US), LLC将其全资附属公司Miracle Nova III (US), Inc.,并入MIG,MIG将继承此前两家公司的一切权力及义务,并成为Miracle Nova II (US), LLC的全资附属公司,交易总对价达4.33亿美元。MIG2013年税后净利润为亏损1.12亿元,2014年前三季度实现税收净利润0.21亿元。截至2013年末,MIG总资产及净资产规模分别为27.62亿美元、4.13亿美元。MIG为一家专注于细分市场的专业财险及保险管理服务公司,复星收购后更名为AmeriTrust Group(ATG)。100 2022年4月,复星国际通过间接全资附属公司Miracle Nova (UK) Limited,出售其全资持有的、专注于利基市场的财产和意外伤害保险公司ATG100%股权予Accident Fund Holdings Inc.全资附属公司AFICA,后者为一家美国财产和意外伤害保险公司,交易对价达7.4亿美元,标的公司2021年实现税后净利润2519.7万美元,年末总资产、净资产达28.72亿美元、7.86亿美元。101

 

网商银行:2015年5月,浙江网商银行股份有限公司获得中国银监会浙江监管局开业批复,注册资本为40亿元,复星国际通过全资附属公司-上海复星工业技术发展有限公司持有其25%股份,银行开业后拟以互联网为平台向小微企业、网络消费者提供金融服务。102

 

Phoenix Holdings2015年6月,复星国际通过主要从事投资控股业务的间接全资附属公司PI Emerald II (UK)Limited以不超过4.89亿美元的总对价收购Phoenix Holdings Ltd.,(特拉维夫交易所代码:PHOE)约52.31%的流通股本。位于以色列的Phoenix Holdings一方面通过下属公司Phoenix Insurance Company Ltd.,提供寿险、非寿险、健康保险及长期存款等保险业务;另一方面通过下属公司Phoenix Investments and Finance Ltd.及其持股90%的以色列最大证券管理公司之一的Excellence Nessuah Investment House (Excellence) ,管理着约1620亿以色列币的资产,是以色列最大的金融集团之一。103 2014年公司税后净利润达5.31亿以色列币,年末总资产、净资产分别为265.3亿美元、10.3亿美元。104 但2016年2月,复星国际公告称由于部分前置条件未达成,最终终止收购。105

 

HAL2015年7月,复星国际通过直接全资附属公司-复星产业控股有限公司要约收购Hauck & Aufhäuser Privatbankiers KGaA(H&A)股份,若100%收购则最高收购价格不超过2.1亿欧元。H&A为德国少数独立私营银行之一,拥有220年历史,主要提供私人银行及资产管理、资产服务、金融市场服务及借贷业务等金融服务。2014年H&A税后净利润达468万欧元,年末总资产、净资产分别为30.24亿欧元、1.73亿欧元。106 2016年9月,复星系最终完成对H&A99.91%股权的收购。107 2021年8月,H&A收购了德国另一家私人银行Bankhaus Lampe的100%股权,两家公司合并成立为Hauck Aufhäuser Lampe(HAL)。108

 

BCP2016年7月,复星国际披露复星产业控股有限公司(或其联营公司)拟通过增资投资于Banco Comercial Português, S.A.(泛欧证券交易所上市代码:BCP),预计将持有BCP约16.7%股份,总对价不超过2.36亿欧元。BCP是一家葡萄牙领先的银行,主要在欧洲、非洲的葡萄牙、波兰、博桑比克、安哥拉、瑞士等国提供银行服务。2015年BCP税后净利润为2.35亿欧元,年末总资产、净资产分别为748.85亿欧元、56.81亿欧元。109 11月,复星国际通过间接全资附属公司Chiado (Luxembourg) S.à r.l.(Chiado)与BCP签订谅解备忘录,Chiado以1.75亿欧元对价通过定增持有BCP约16.67%股份,复星国际日后拟增持至30%。110 2017年1月,复星国际披露Chiado将通过行使认购权等方式,最终持有BCP股份不超过30%,总对价最高可达约5.31亿欧元。111 2月,复星国际披露Chiado持有BCP约23.92%股权,总对价达3.74亿欧元。112

 

复星联合保险:2016年8月,复星国际通过全资附属公司上海复星产业投资有限公司获得保监会批复,同意与其他独立第三方在广州市联合筹建复星联合健康保险股份有限公司(简称“复星联合保险”),注册资本为5亿元,其中复星产投投资1亿元。113 考虑到寿险公司“七平八盈”的经营规律,复星联合保险自2017年至2020年偿付能力充足率不断下降,由于“同股不同权”,广东宜华房地产开发有限公司所持复星联合保险19.5%的股权历时2个月,最终折价44%以1.12亿元的价格被一家自然人独资企业北京和平联合科技发展有限公司(简称“北京和平联合”)接盘。114

 

(三)钢铁矿产方向

天钢集团:2008年6月,复星国际通过间接全资子公司复星科技(天津)有限公司(简称“复星天津”)介入天津天钢集团有限公司(简称“天钢集团”)混改。天钢集团以全资子公司-天津钢铁有限公司(简称“天津钢铁”)的30亿元注册资本、评估价值约3.2亿元的生产线等实物资产、5.6亿元现金出资;复星天津以货币出资38亿元;天津奥新投资有限公司(简称“奥新投资”)以货币出资3.2亿元共同出资进行混改,天津钢铁更名为天津钢铁集团有限公司。115 但2010年10月,复星系认为该笔交易价值已不再有吸引力,双方终止交易。116

 

洛克石油:2014年8月,复星国际及其下属公司就Roc Oil Company Limited(澳交所上市代码ROC)全部已发行股份提出有条件现金收购要约,交易对价不超过4.89亿澳元。ROC为上游石油和天然气集团公司控股的油气勘探生产企业,2013年税后净利润达4520万美元。117 10月,复星国际公告通过全资附属公司Transcendent Resources Limited以0.69澳元/股的价格,斥资2.41亿澳元收购ROC约50.79%股份。118 11月,复星国际最终公告Transcendent Resources Limited斥资4.39亿澳元对价收购ROC全部已发行股份的92.595%,后续计划自澳交所退市。119 目前,洛克石油已被纳入海南矿业体系内经营。

 

中石化销售:2014年9月,复星国际通过为收购专门成立的全资附属公司Pingtao (Hong Kong) Limited以21.53亿元对价获得中国石化销售有限公司0.603%的权益。120

 

Polyus2017年5月,复星国际通过间接非全资附属公司上海平聚投资管理有限公司向Polyus Gold International Limited以不超过8.87亿美元的对价,收购Public Joint Stock Company Polyus10%的股份,后者为俄罗斯最大的黄金生产商,黄金产量位居全球前十。121 但2018年1月,由于先决条件未满足,双方终止交易。122

 

(四)不动产等方向

菜鸟网络:2013年,阿里巴巴、银泰集团联合复星集团、富春控股集团、顺丰速运、三通一达(申通、圆通、中通、韵达快递)等机构联合成立了菜鸟网络科技有限公司(简称“菜鸟网络”),复星出资5亿元持股10%。2019年11月,阿里巴巴出资32.9亿美元(约合233亿元)将其对菜鸟的持股自51%提高至63%,据此计算菜鸟网络估值已高达近280亿美元(约合2000亿元),复星持股6.7%部分的估值达18亿美元(约合130亿元)。2020年市场一度传言复星计划出售该部分股权,但迄今仍未见落地。123 2022年下半年,复星国际在对外交流中表示仍在接触潜在买方,有传言菜鸟网络当前估值约为180-200亿美元。

 

One Chase Manhattan Plaza2013年10月,复星国际通过全资附属公司Summit Glory Holdings Limited与JP Morgan Chase Bank, National Association签订购买协议,以7.25亿美元的对价收购位于纽约市Liberty大街16-48号的One Chase Manhattan Plaza,该A级办公楼占比220万平方英尺,此前为Chase Manhattan Bank全球总部。124 但有传言称,为对建成70年、已严重老化的One Chase Manhattan Plaza升级改造,复星国际额外斥资约1-2亿美元。与周边复建的世贸中心共有7栋巨型办公楼将在2017年开业相比,复星这笔投资的成本颇高。125

 

Lloyds Chambers2013年10月,媒体报道由复星地产控股(Fosun Property Holdings)、美国财长John Snow、投资人Mike Ryan和James Lapushner组成的合资公司Portsoken Investment Ltd,126 以6450万英镑(约合1.09亿美元)的价格收购了位于伦敦的Lloyds Chambers办公大厦,收购时大厦附有英国保险巨头怡安集团(Aon)将于2018年6月到期的租约,年租金为710万英镑。收购后,除正常收取租金、享受资产增值外,复星系还寻求扩建增值。2016年7月26日,复星的扩建申请获得伦敦金融城规划局正式批复,复星计划将Lloyds Chambers大楼改建成蝴蝶形状,新楼将包括办公楼和零售商店,总面积扩大一倍至40万平方英尺(约为3.7万平方米)。2017年11月7日,复星高科成功将伦敦金融城Lloyds Chambers大楼出售给来自美国纽约的私人投资者Abraham Schwartz,成交价为9700万英镑(约合8.45亿人民币)。127

 

IDERA2014年5月,据媒体报道,复星国际从日本私募股权投资公司Unison Capital手中收购了总部位于东京的不动产管理公司IDERA Capital Management约98%股权。作为复星国际在日本的第一笔大额并购投资,该笔交易金额约为68亿日元(约合4.18亿元人民币)。128 IDERA由房地产投资公司MK Capital Management Corporation和Atlas Partners Japan合并而成。此前,私募基金Unison Capital通过Marble控股公司掌握着这家公司。其业务分基金管理和资产管理两部分,主要涉及股票市场、债券市场以及本土房地产市场,拥有的房地产以东京圈为主。此外,它还提供房地产中介咨询服务。129

 

Resolution Property2015年7月,据媒体报道,复星地产与Resolution Property拟共同投资设立一家合资公司Resolution Property Investment Management LLP (下称“RPIM”),其中复星地产在RPIM中拥有控股地位。这也是继2014年5月收购日本IDERA之后,复星地产在全球投资的第二家资管平台公司。英国Resolution Property是一家拥有17年历史的专业地产基金管理公司,专注于欧洲地产投资的基金管理,目前管理资产规模约为20亿英镑。在英国、德国等地拥有多个知名项目,旗下物业包括德国Bremen的Waterfront购物中心、法国Troyes奥特莱斯、伦敦Shoreditch的办公楼等。从资金来源上看,复星地产旗下拥有复地、星浩、星泓、星豫、星健、BFC、浙商建业、星堡、星景、策源和星颐等多家开发运营企业,但收购资金主要来自保险资金,复星地产管理层透露,葡萄牙保险公司旗下的地产资产管理公司Fidelidade Property已开始纳入复星地产的海外资管系统。130 2016年-2018年,复星地产先后购入①伦敦金融城东侧的Thomas More Square综合写字楼区(3亿英镑,系传媒大亨默多克新闻集团、泰晤士报等在伦敦近30年的总部所在)、②位于伦敦金融城最核心位置的地标建筑-皇家交易所(Royal Exchange)大厦写字楼部分的长期收益权(对价4700万英镑)等标的。131

 

BFC外滩金融中心:2015年9月,复星国际通过间接全资附属公司浙江复星商业发展有限公司以84.93亿元的对价(含清偿SOHO中国间接全资附属公司长晟公司45.85亿元借款、清偿股东借款40.37亿元),自复星国际持股50%的合营企业上海海之门房地产投资管理有限公司处,收购上海证大外滩国际金融服务中心置业有限公司全部股权。收购标的的主要资产为上海外滩8-1地块(即上海黄浦区小东门街道574、578地块),复星系收购后继续开发外滩金融中心BFC项目,预计2016年竣工。132 2016年12月,复星系以53.3亿元对价将外滩置业50%股权出售予嘉兴盛世神州稳利投资合伙企业(有限合伙),复星系预计兑现税前投资收益约10.83亿元。133 2022年3月,复星国际通过间接全资附属公司浙江复星商业发展有限公司以63.42亿元对价,自中融国际处上海复星外滩置业有限公司(简称“外滩置业”)50%股权,外滩置业此前由浙江复星、中融国际分别持股50%,名下唯一物业为BFC,截至2021年末BFC估值达230.78亿元,同时外滩置业的总资产、净资产分别为243亿元、126.84亿元,2021年外滩置业实现税后净利润3.8亿元。134

 

复星创泓基金:2016年6月,亚东广信科技发展有限公司(郭、梁、汪分别持股64.45%、24.44%、11.11%)全资附属公司西藏兴业投资管理有限公司,将其持有上海复星创泓股权投资基金合伙企业(有限合伙)(简称“创泓基金”)35.21%的股份以5.82亿元对价出售予上海复星工业技术发展有限公司全资附属公司亚东复星工业技术发展有限公司。创泓基金主要从事股权投资和投资咨询业务,2015年税后净亏损达1583万元,年末总资产、净资产均为14.41亿元。创泓基金所投产业覆盖工业4.0、环保、食品、健康等,标的涵盖2家上市公司、2家新三板挂牌企业、7家其他企业(已启动IPO程序)。135

 

图表8:2016年复星国际业务版图

数据来源:复星国际2016年年报,深高投资

 

四、2017年至今,投资驱动与存量产业运营并举时代

 

继2013年11月28日有传言称郭广昌在香港被限制出境,2015年12月11日复星系多家公司公告郭广昌正在协助司法机关调查后,2017年6月22日复星系再度传出被政府调查传言。据财新报道,银监会先后要求国有行、股份行对部分企业进行融资风险排查,其中包括万达、海航集团、复星、浙江罗森内里等此前海外并购动作频繁、在国内银行业敞口较大的民营资本巨头。136 此后,复星系海外并购步伐明显放缓,所谓“中国动力嫁接全球资源”战略被调整为“中国和全球双轮驱动”,即公司业务战略自投资驱动转入投资驱动与存量产业运营相结合,在前期已大量收购资产的基础上,更加强调存量资产的运营和退出。

 

复朗集团(FFG):自2013年起,复星系便以财务投资人身份进入一些海外时尚品牌,如以针织著称的美国高端女装品牌St John、为LV和Dior等一线奢侈品牌供货的意大利高端男装制造商Caruso,还有在德语区拥有95%消费者认知度的快时尚品牌Tom Tailor,复星在想当一段时间内是这三家公司的小股东。但按照复星时尚集团董事长程云在接受采访时所说,要做好时尚产业需要长期、深度的运营,而身为没有太多话语权的小股东,复星对以上这些被投企业常常面临“有劲无处使”的尴尬境地,很难真正地为它们创造价值,帮助它们实现扭亏为盈。因此,2017年,决心在时尚行业有所作为的复星通过增资,终于成为了St John与Caruso的控股股东,并于2018年上半年控股收购了法国最古老的高级时装品牌Lanvin与奥地利高端内衣品牌Wolford,复星时尚集团也就此正式成立,标志着复星正式进军时尚领域。2019年2月,复星时尚集团又宣布成立复星时尚品牌管理公司(Fosun Fashion Brand Management),由二十余名在中国平均拥有超过15年品牌运营经验的成员组成,专门为想要在大中华区市场拓展业务的品牌提供零售、批发、电商等运营服务,尤其针对那些想要进入中国市场,却又苦于不了解本土环境、缺乏本土资源的海外品牌。目前,该公司已先后接管了复星时尚自有品牌Wolford和St John在大中华区的运营工作,同时也向复星体系外的品牌开放相同的服务。复朗集团旗下的经典品牌包括成立于1889年的现存历史最悠久的法国高级时装屋Lanvin、意大利奢侈鞋履品牌Sergio Rossi、奥地利奢侈亲肤衣物品牌Wolford、美国经典针织女装品牌St. John Knits以及意大利高端男装制造商Caruso,五大品牌合计拥有超过390年的历史。而常常被大众混淆的希腊品牌Folli Follie和巴黎设计师品牌IRO并不在其中。137 2022年3月,复星旗下奢侈品集团Lanvin Group(复朗集团,原复星时尚集团、FFG)宣布与Primavera Capital Acquisition Corp.(纽交所代码:PV,简称“PCAC”) 达成最终合并协议,交易后复朗集团将在纽约证券交易所上市,股票代码为“LANV”。 PCAC是一家在纽约证券交易所上市的特殊目的收购公司,也是春华资本集团(简称“春华资本”)旗下的附属公司。该交易对复朗集团的预估企业价值约为15 亿美元,合并后预估市值约为19亿美元,但迄今尚未完成。138

 

东家:2017年,匠人手作社交电商平台“东家”宣布完成数千万元A+轮融资,由复星高科领投。东家APP于2015年5月上线,是一款基于东方生活美学的社交平台与兴趣类电商平台,2016年前央视《晚间新闻》主持人赵普以合伙人身份加盟东家,负责品牌业务。139 2019年底,豫园股份完成对东家的控股。140

 

PAREF2017年4月,复星高科以每股75欧元的价格,收购总部位于法国巴黎的PAREF及其四位股东(APICIL、GESCO、MO1及Lévy-Lambert集团)旗下共计604,473股股份,从而使复星在PAREF的股比达到50.01%。这一交易的达成,是继英国Resolution Property之后,复星在欧洲通过并购所获取的第二个房地产投资及资产管理平台。在控股PAREF之前,复星相继完成了对日本IDERA、英国Resolution Property、俄罗斯Fosun Eurasia、巴西Rio Bravo等区域平台公司的并购与设立。其中,IDERA已成为日本及亚洲最优秀的房地产投资及资产管理平台之一,并于2016年末与日本三井物产株式会社共同出资成立REIT,于东京证券交易所上市交易。同时,IDERA还于2017年初携手荷兰养老金基金管理人PGGM,成功封闭JURIC三期基金。Resolution Property是英国一家拥有接近20年历史的专业地产基金管理公司,在欧洲价值增长型房地产投资中的过往业绩显著。Rio Bravo投资集团则是一家来自巴西的领先的房地产基金管理公司。房地产资产投资方面,复星地产在欧洲先后布局伦敦、米兰、里斯本、法兰克福等核心城市,所持有资产均为甲级写字楼、五星酒店及高端商业等各地地标性建筑。141

 

百合佳缘:2017年8月,复星国际通过间接全资附属公司-上海复星创业投资管理有限公司以40亿元对价收购郭广昌全资持有的宁波梅山保稅港区缘宏投资有限公司100%股权,后者持有百合佳緣网络集团股份有限公司(简称“百合佳缘”,新三板代码:834214)约69.18%股权。郭对缘宏投资的初始投资包括1000万元自有资金及39.9亿元借款,复星国际此次为零溢价收购。142 2015年,“百合网”与“世纪佳缘”合并,将原有的赛道进行整合,成立了“百合佳缘”。2017年初,开始搭建婚礼业务,正式开拓婚礼婚嫁领域。2021年,百合佳缘集团将原有的品牌赛道再一次进行整合,成为国内爱情产业唯一覆盖婚恋、娱乐社区、婚嫁的全产业集团,截至2022年4月底,整体累计注册用户数已超4亿、MAU达1110万、遍布全国的服务门店超过200家。143

 

青岛啤酒:2017年12月,复星国际通过全资附属公司-复星产业控股有限公司(简称“复星产控”)、控股86.93%的鼎睿再保险、控股84.9861%的Fidelidade – Companhia de Seguros, S.A. (Fidelidade)、AmeriTrust全资附属公司Star Insurance Company、所管理基金China Momentum Fund, L.P.,(中国动力基金)全资附属公司China Momentum Investment (BVI) Limited(CMI)联合收购青岛啤酒(00168.HK、600600.SH)港股股份的37.11%,约占公司已发行股本的17.99%,总对价达66.17亿港币。144 2022年5月,复星系出售青岛啤酒港股股份的10.19%,套现约41.4亿港币,清仓这一标的。145

 

图表9:2017年复星系收购青岛啤酒港股上市股份明细

数据来源:复星国际公开披露,深高投资

 

Guide:2018年2月,复星国际收购了位于巴西的证券公司Guide Investimentos,总对价约为5200万美元,另有3700万美元将视公司后续业绩另行支付。该交易是继2016年收购巴西资产管理公司Rio Bravo后,复星在巴西打造金融集团的第二座里程碑事件。146 但2020年,据路透报道,复星考虑出售在Guide、Rio两家巴西公司中的持股。147

 

IGI2018年9月,豫园股份(600655.SH)发布公告称,拟出资1.088亿美元投资收购总部位于比利时的国际宝石学院International Gemological Institute(简称“IGI”)80%股权。IGI国际宝石学院成立于比利时安特卫普,拥有40余年发展历史,是全球知名的宝石学培训及钻石鉴定组织,在家族股东的多年推动下形成了布局全球的钻石、宝石和首饰专业鉴定以及宝石学培训课程等业务,广泛服务钻石相关领域的各类合作伙伴、包括知名钻石零售商。公告显示,经营IGI业务逾40年之久的Lorie家族将继续保留20%权益,经验丰富的Roland Lorie将继续担任IGI公司CEO。148

 

复星旅文:2018年12月,复星国际将分拆后的复星旅游文化集团(简称“复星旅文”或“FOLIDAY”,1992.HK)于香港上市。复星旅文的前身是2009年复星国际商业事业部,2010年参与了复星国际对地中海俱乐部的初始投资,2012年11月更名为旅游及商业集团。

 

图表10:2018年复星旅文上市前夕股权架构

数据来源:复星旅文招股说明书 149,深高投资

 

翌耀科技:2019年5月,复星高科通过旗下基金设立的上海爱夫迪自动化科技公司(后更名为“上海翌耀科技股份有限公司”),以47亿元对价完成对德国老牌智能制造企业FFT GmbH & Co.KGaA(“FFT”)100%股权的收购。同时计划于2021年Q4对爱夫迪进行IPO申报。150

 

天津海鸥:2019年11月,豫园股份公告称,公司决定参与天津产权交易中心公开挂牌的天津海鸥表业集团有限公司(以下简称“天津海鸥”)增资扩股项目。借助增资及股权转让相结合方式,豫园股份以挂牌底价 35000 万元的增资额取得增资后天津海鸥 43.57%股权,原股东天津亿达与豫园股份同步协议增资;同时豫园股份以挂牌底价17212.89万元受让津联中鸥持有的增资后21.43%股权(相当于增资前标的企业 43.03%股权),最终豫园股份、天津亿达、津联中鸥分别持有天津海鸥 65%、11.61%、23.39%的股权。151 “海鸥”作为新中国“第一块手表”具有独特的品牌价值,是中国驰名商标和中华老字号,是知名度较高的自主民族品牌。此前,复星系还投资了上海表业。

 

DJULA2020年3月20日,豫园股份宣布出资2.1亿人民币完成对法国轻奢设计师珠宝品牌DJULA 55.4%股权的收购。152

 

薄荷健康:2020年4月,薄荷健康获复星高科4000万元C轮融资;同年10月,再获复星创富股权融资,具体融资金额未披露;加上此次D轮融资,C轮投资方复星高科继续跟投,薄荷健康已经在一年多的时间内连获三轮融资,投后估值超20亿元。153

 

金徽酒:2020年5月,豫园股份公告称,拟收购白酒品牌金徽酒152,177,900股,占金徽酒总股份的29.99998%,标的股份拟转让价格为12.07元/股,交易总价款为18.37亿元。交易完成后,豫园股份将成为金徽酒控股股东。9月,豫园股份向金徽酒发出要约收购,最终按照17.62元/股对价,收购除豫园股份已持有的股份外的40,580,800股已上市无限售条件流通股(占金徽酒总股本比例8.00%),复星系对金徽酒持股比例提高至38%。155

 

舍得酒业:2020年12月,豫园股份于拍卖会上出资45.3亿元获得四川沱牌舍得集团有限公司(简称“舍得集团”)70%的权益,舍得集团持有舍得酒业股份有限公司(600702.SH)约29.95%的股权。2019年舍得集团税后净利润达6.21亿元,截至2020年三季度末总资产、净资产分别为43.97亿元、24.7亿元。156

 

复星体育:2021年9月,复星国际通过间接全资附属公司复星体育及其间接全资附属固收复钰文化,分别与香港硬核玩科技及其全资母公司复娱文化签订协议,各自以1.8亿元、8000万元对价达成香港资产包、境内资产包的交易。其中郭广昌持有香港硬核玩科技及其全资母公司复娱文化的股权比例均超过30%。157 标的公司主要开展游戏、电竞及体育业务。158

 

1.https://www.163.com/dy/article/HARUT0M505536949.html

2.https://www1.hkexnews.hk/listedco/listconews/sehk/2007/0629/ltn20070629036_c.htm

3.https://www1.hkexnews.hk/listedco/listconews/sehk/2004/0127/ltn20040127000_c.htm及

https://www1.hkexnews.hk/listedco/listconews/sehk/2011/0120/ltn20110120502_c.pdf及

https://www1.hkexnews.hk/listedco/listconews/sehk/2011/0225/ltn20110225010_c.pdf

4.https://www1.hkexnews.hk/listedco/listconews/sehk/2011/0225/ltn20110225014_c.pdf

5.https://quotes.money.163.com/f10/ggmx_600196_187831_1.html

6.https://www1.hkexnews.hk/listedco/listconews/sehk/2012/1029/ltn20121029016_c.pdf

7.https://www1.hkexnews.hk/listedco/listconews/sehk/2012/1030/02196/cfosun-20121004-12.pdf

8.https://baijiahao.baidu.com/s?id=1654050802746746611

9.https://quotes.money.163.com/f10/ggmx_600655_191153_1.html

10.https://quotes.money.163.com/f10/ggmx_600655_153239_1.html

11.http://static.sse.com.cn/disclosure/listedinfo/announcement/c/2018-07-13/600655_20180713_1.pdf

12.https://www.chinaventure.com.cn/cmsmodel/news/detail/327543.html

13.https://www1.hkexnews.hk/listedco/listconews/sehk/2009/0922/ltn20090922551_c.pdf

14.https://new.qq.com/rain/a/20201003A0AIQH00

15.https://www1.hkexnews.hk/listedco/listconews/sehk/2007/0629/00656_176545/c112.pdf

16.https://magazine.caixin.com/2009-03-16/100081491.html及

https://www1.hkexnews.hk/listedco/listconews/sehk/2009/0301/ltn20090301008_c.pdf

17.http://www.600282.net/Upload/files/20030612%E5%8D%97%E9%92%A2%E8%82%A1%E4%BB%BD%E8%A6%81%E7%BA%A6%E6%94%B6%E8%B4%AD%E6%8A%A5%E5%91%8A%E4%B9%A6.pdf

18.https://www1.hkexnews.hk/listedco/listconews/sehk/2009/0526/ltn20090526018_c.pdf及

https://www1.hkexnews.hk/listedco/listconews/sehk/2009/1123/ltn20091123547_c.pdf

19.http://static.sse.com.cn/disclosure/listedinfo/announcement/c/new/2022-10-20/600282_20221020_1_E2L1pPyM.pdf

20.http://www.p5w.net/stock/xingu/gsgc/201407/t20140728_693502.htm

21.https://www1.hkexnews.hk/listedco/listconews/sehk/2006/1124/ltn20061124006_c.htm

22.https://www1.hkexnews.hk/listedco/listconews/sehk/2009/0301/ltn20090301007_c.pdf

23.https://www.fosun.com/content/details75_5316.html

24.https://business.sohu.com/20130729/n382786763.shtml

25.https://www1.hkexnews.hk/listedco/listconews/sehk/2010/0613/ltn20100613026_c.pdf

26.https://www.chinaventure.com.cn/cmsmodel/news/detail/327543.html及

https://www.fosun.com/content/details75_5316.html及https://www1.hkexnews.hk/listedco/listconews/sehk/2010/0613/ltn20100613026_c.pdf

27.https://www1.hkexnews.hk/listedco/listconews/sehk/2018/1214/a17917/cftg-20181128-16.pdf

28.https://www1.hkexnews.hk/listedco/listconews/sehk/2013/0531/ltn20130531028_c.pdf及

https://www1.hkexnews.hk/listedco/listconews/sehk/2014/0912/ltn20140912621_c.pdf及

https://www1.hkexnews.hk/listedco/listconews/sehk/2014/1201/ltn201412012175_c.pdf及

https://www1.hkexnews.hk/listedco/listconews/sehk/2014/1219/ltn20141219299_c.pdf及https://www1.hkexnews.hk/listedco/listconews/sehk/2015/0311/ltn20150311040_c.pdf

29.https://www1.hkexnews.hk/listedco/listconews/sehk/2008/1224/ltn20081224000_c.pdf

30.https://www1.hkexnews.hk/listedco/listconews/sehk/2009/0327/ltn20090327020_c.pdf

31.https://www1.hkexnews.hk/listedco/listconews/sehk/2010/0920/ltn20100920510_c.pdf

32.https://www1.hkexnews.hk/listedco/listconews/sehk/2011/0706/ltn20110706751_c.pdf

33.https://www1.hkexnews.hk/listedco/listconews/sehk/2011/1123/ltn20111123284_c.pdf

34.https://www1.hkexnews.hk/listedco/listconews/sehk/2012/1220/ltn20121220010_c.pdf

35.https://www1.hkexnews.hk/listedco/listconews/sehk/2013/0526/ltn20130526014_c.pdf

36.https://www1.hkexnews.hk/listedco/listconews/sehk/2009/1118/ltn20091118461_c.pdf

37.https://www1.hkexnews.hk/listedco/listconews/sehk/2010/0617/ltn20100617015_c.pdf

38.https://www1.hkexnews.hk/listedco/listconews/sehk/2010/0630/ltn20100630781_c.pdf及

https://www1.hkexnews.hk/listedco/listconews/sehk/2010/0702/ltn201007021457_c.pdf及

https://www1.hkexnews.hk/listedco/listconews/sehk/2010/0712/ltn20100712507_c.pdf及https://www1.hkexnews.hk/listedco/listconews/sehk/2010/0730/ltn20100730624_c.pdf

39.https://www1.hkexnews.hk/listedco/listconews/sehk/2010/1228/ltn20101228517_c.pdf

40.https://www1.hkexnews.hk/listedco/listconews/sehk/2014/0218/ltn20140218006_c.pdf

41.https://www1.hkexnews.hk/listedco/listconews/sehk/2019/0730/ltn201907301050_c.pdf及

http://www.capwhale.com/newsfile/details/20191222/406c611e74e54014845522ef0b02618e.shtml?ivk_sa=1024609v及https://www.cn-healthcare.com/articlewm/20190806/content-1066816.html?appfrom=jkj

42.https://www1.hkexnews.hk/listedco/listconews/sehk/2013/0428/ltn20130428030_c.pdf

43.https://www1.hkexnews.hk/listedco/listconews/sehk/2013/0528/ltn20130528153_c.pdf

44.https://www1.hkexnews.hk/listedco/listconews/sehk/2017/0919/ltn20170919272_c.pdf

45.https://www1.hkexnews.hk/listedco/listconews/sehk/2017/0919/ltn20170919054_c.htm

46.https://www1.hkexnews.hk/listedco/listconews/sehk/2013/1009/ltn20131009562_c.pdf

47.https://www1.hkexnews.hk/listedco/listconews/sehk/2011/1214/ltn20111214019_c.pdf

48.https://www1.hkexnews.hk/listedco/listconews/sehk/2014/0228/ltn201402281095_c.pdf

49.https://www1.hkexnews.hk/listedco/listconews/sehk/2014/0623/ltn20140623062_c.pdf

50.https://www1.hkexnews.hk/listedco/listconews/sehk/2014/0724/ltn20140724779_c.pdf

51.https://www1.hkexnews.hk/listedco/listconews/sehk/2014/0731/ltn20140731026_c.pdf

52.https://www1.hkexnews.hk/listedco/listconews/sehk/2019/0219/ltn20190219008_c.pdf

53.https://www1.hkexnews.hk/listedco/listconews/sehk/2019/0401/ltn201904012387_c.pdf

54.https://www1.hkexnews.hk/listedco/listconews/sehk/2019/0715/ltn20190715244_c.pdf

55.https://www1.hkexnews.hk/listedco/listconews/sehk/2014/0923/ltn20140923034_c.pdf

56.https://www1.hkexnews.hk/listedco/listconews/sehk/2014/0928/ltn20140928004_c.pdf

57.https://www1.hkexnews.hk/listedco/listconews/sehk/2014/1010/ltn20141010214_c.pdf

58.http://news.winshang.com/html/039/4836.html

59.https://www1.hkexnews.hk/listedco/listconews/sehk/2014/1016/ltn20141016018_c.pdf

60.https://www1.hkexnews.hk/listedco/listconews/sehk/2015/0306/ltn20150306151_c.pdf

61.https://www1.hkexnews.hk/listedco/listconews/sehk/2015/0306/ltn20150306151_c.pdf

62.https://www1.hkexnews.hk/listedco/listconews/sehk/2019/1101/2019110102512_c.pdf及

https://baijiahao.baidu.com/s?id=1649234680714688240&wfr=spider&for=pc

63.https://www1.hkexnews.hk/listedco/listconews/sehk/2015/0421/ltn20150421056_c.pdf

64.http://finance.china.com.cn/industry/company/20200403/5240307.shtml

65.http://www.xinhuanet.com/politics/2016-04/12/c_128884771.htm

66.https://www.jumeili.cn/NewsView-19519.html

67.http://static.sse.com.cn/disclosure/listedinfo/announcement/c/2020-06-06/600655_20200606_1.pdf

68.https://bg.qianzhan.com/trends/detail/506/220412-dfe02326.html及

https://t.qianzhan.com/caijing/detail/181212-7d8eefc9.html及

https://zhuanlan.zhihu.com/p/192385290

69.https://www.fosunpharma.com/content/details39_7410.html

70.https://www1.hkexnews.hk/listedco/listconews/sehk/2016/0729/ltn20160729044_c.pdf

71.https://www1.hkexnews.hk/listedco/listconews/sehk/2017/1003/ltn201710032388_c.pdf及https://www1.hkexnews.hk/listedco/listconews/sehk/2017/0917/ltn20170917072_c.pdf

72.https://www1.hkexnews.hk/listedco/listconews/sehk/2020/0710/2020071001144_c.pdf及

https://www.nseindia.com/get-quotes/equity?symbol=GLAND

73.https://www.fosun.com/content/details74_3816.html

74.https://www.fosun.com/content/details74_4369.html

75.https://www1.hkexnews.hk/listedco/listconews/sehk/2016/0810/ltn20160810838_c.pdf

76.https://www1.hkexnews.hk/listedco/listconews/sehk/2018/0927/ltn201809271185_c.pdf

77.https://www1.hkexnews.hk/listedco/listconews/sehk/2019/0930/2019091000695_c.htm

78.https://new.qq.com/rain/a/20210820A035LI00及https://www1.hkexnews.hk/listedco/listconews/sehk/2020/0330/2020033002276_c.pdf

79.https://baijiahao.baidu.com/s?id=1727644913532633387

80.https://www1.hkexnews.hk/listedco/listconews/sehk/2018/1127/ltn20181127120_c.htm

81.https://www1.hkexnews.hk/listedco/listconews/sehk/2017/0125/ltn20170125659_c.pdf

82.By复星医药2019年报

83.https://www1.hkexnews.hk/listedco/listconews/sehk/2008/0229/ltn20080229349_c.pdf

84.https://www1.hkexnews.hk/listedco/listconews/sehk/2011/0113/ltn20110113192_c.pdf

85.https://www1.hkexnews.hk/listedco/listconews/sehk/2011/0915/ltn20110915363_c.pdf

86.https://www1.hkexnews.hk/listedco/listconews/sehk/2012/0918/ltn20120918448_c.pdf

87.https://www1.hkexnews.hk/listedco/listconews/sehk/2013/0108/ltn20130108562_c.pdf

88.https://www1.hkexnews.hk/listedco/listconews/sehk/2013/1220/ltn20131220078_c.pdf及https://www1.hkexnews.hk/listedco/listconews/sehk/2014/0110/ltn20140110004_c.pdf

89.https://www1.hkexnews.hk/listedco/listconews/sehk/2014/0625/ltn20140625251_c.pdf

90.https://www1.hkexnews.hk/listedco/listconews/sehk/2014/0327/ltn20140327879_c.pdf

91.https://www1.hkexnews.hk/listedco/listconews/sehk/2015/0724/ltn201507241009_c.pdf

92.https://www1.hkexnews.hk/listedco/listconews/sehk/2015/1220/ltn20151220012_c.pdf

93.https://www1.hkexnews.hk/listedco/listconews/sehk/2015/0324/ltn20150324040_c.pdf及

https://www1.hkexnews.hk/listedco/listconews/sehk/2015/0724/ltn201507241009_c.pdf

94.https://www1.hkexnews.hk/listedco/listconews/sehk/2016/0126/ltn20160126707_c.pdf

95.https://www1.hkexnews.hk/listedco/listconews/sehk/2016/0126/ltn20160126707_c.pdf

96.https://www1.hkexnews.hk/listedco/listconews/sehk/2014/0818/ltn20140818036_c.pdf

97.https://www1.hkexnews.hk/listedco/listconews/sehk/2015/0503/ltn20150503022_c.pdf及https://www1.hkexnews.hk/listedco/listconews/sehk/2015/1123/ltn20151123006_c.pdf

98.https://www1.hkexnews.hk/listedco/listconews/sehk/2016/0322/ltn20160322702_c.pdf

99.https://www1.hkexnews.hk/listedco/listconews/sehk/2016/1205/ltn201612051361_c.pdf及https://www1.hkexnews.hk/listedco/listconews/sehk/2017/0502/ltn20170502004_c.pdf

100.https://www1.hkexnews.hk/listedco/listconews/sehk/2014/1231/ltn20141231088_c.pdf

101.https://www1.hkexnews.hk/listedco/listconews/sehk/2022/0412/2022041201047_c.pdf

102.https://www1.hkexnews.hk/listedco/listconews/sehk/2014/0929/ltn20140929377_c.pdf及

https://www1.hkexnews.hk/listedco/listconews/sehk/2015/0528/ltn20150528004_c.pdf

103.https://www1.hkexnews.hk/listedco/listconews/sehk/2015/0621/ltn20150621028_c.pdf

104.https://www1.hkexnews.hk/listedco/listconews/sehk/2015/1231/ltn20151231094_c.pdf

105.https://www1.hkexnews.hk/listedco/listconews/sehk/2016/0217/ltn20160217018_c.pdf

106.https://www1.hkexnews.hk/listedco/listconews/sehk/2015/0708/ltn20150708028_c.pdf

107.https://www1.hkexnews.hk/listedco/listconews/sehk/2016/0909/ltn20160909478_c.pdf

108.https://en.fosun.com/content/details74_6710.html

109.https://www1.hkexnews.hk/listedco/listconews/sehk/2016/0731/ltn20160731028_c.pdf

110.https://www1.hkexnews.hk/listedco/listconews/sehk/2016/1120/ltn20161120026_c.pdf

111.https://www1.hkexnews.hk/listedco/listconews/sehk/2017/0110/ltn20170110004_c.pdf及https://www1.hkexnews.hk/listedco/listconews/sehk/2017/0622/ltn20170622284_c.pdf

112.https://www1.hkexnews.hk/listedco/listconews/sehk/2017/0208/ltn20170208026_c.pdf

113.https://www1.hkexnews.hk/listedco/listconews/sehk/2016/0803/ltn201608031258_c.pdf

114.https://baijiahao.baidu.com/s?id=1727078986207397532&wfr=spider&for=pc

115.https://www1.hkexnews.hk/listedco/listconews/sehk/2008/0613/ltn20080613007_c.pdf

116.https://www1.hkexnews.hk/listedco/listconews/sehk/2010/1015/ltn20101015742_c.pdf

117.https://www1.hkexnews.hk/listedco/listconews/sehk/2014/0804/ltn20140804010_c.pdf

118.https://www1.hkexnews.hk/listedco/listconews/sehk/2014/1020/ltn20141020026_c.pdf

119.https://www1.hkexnews.hk/listedco/listconews/sehk/2014/1114/ltn20141114407_c.pdf

120.https://www1.hkexnews.hk/listedco/listconews/sehk/2014/0914/ltn20140914027_c.pdf

121.https://www1.hkexnews.hk/listedco/listconews/sehk/2017/0531/ltn201705311081_c.pdf

122.https://www1.hkexnews.hk/listedco/listconews/sehk/2018/0115/ltn20180115338_c.pdf

123.https://www.reuters.com/article/us-fosun-cainiao-exclusive-idUSKBN23U10I

124.https://www1.hkexnews.hk/listedco/listconews/sehk/2013/1018/ltn20131018032_c.pdf

125.https://www.yicai.com/news/3936122.html

126.https://www.zhitongcaijing.com/content/detail/155085.html

127.https://www.sohu.com/a/202870383_627135

128.https://asia.nikkei.com/Business/China-s-Fosun-group-ready-to-snap-up-real-estate-in-Japan

129.https://news.cnstock.com/news,gg-201405-3025228.htm与https://www.yicai.com/news/3936122.html

130.https://www.yicai.com/news/4640043.html

131.https://www.zhitongcaijing.com/content/detail/155085.html

132.https://www1.hkexnews.hk/listedco/listconews/sehk/2015/0923/ltn20150923877_c.pdf

133.https://www1.hkexnews.hk/listedco/listconews/sehk/2016/1212/ltn20161212872_c.pdf

134.https://www1.hkexnews.hk/listedco/listconews/sehk/2022/0321/2022032101420_c.pdf

135.https://www1.hkexnews.hk/listedco/listconews/sehk/2016/0627/ltn20160627651_c.pdf

136.http://house.qianlong.com/shoudufangchan/2017/0901/1991992.shtml

137.https://baijiahao.baidu.com/s?id=1630387103483744797&wfr=spider&for=pc

138.https://www1.hkexnews.hk/listedco/listconews/sehk/2022/0323/2022032300008_c.pdf及https://www.fosun.com/content/details74_6813.html

139.https://www.chinaventure.com.cn/cmsmodel/news/detail/308660.html

140.https://baijiahao.baidu.com/s?id=1674369647718779621&wfr=spider&for=pc

141.https://www.sohu.com/a/133424193_465521

142.https://www1.hkexnews.hk/listedco/listconews/sehk/2018/0704/ltn201807041818_c.pdf

143.https://t.ynet.cn/baijia/32794289.html

144.https://www1.hkexnews.hk/listedco/listconews/sehk/2017/1220/ltn20171220454_c.pdf

145.https://www1.hkexnews.hk/listedco/listconews/sehk/2022/0531/2022053100004_c.pdf

146.https://en.fosun.com/content/details74_6506.html

147.https://www.reuters.com/article/us-fosun-divestiture-brazil-idUSKBN1ZE046

148.https://www.sohu.com/a/253389443_99936293

149.https://www1.hkexnews.hk/listedco/listconews/sehk/2018/1214/a17917/cftg-20181128-16.pdf

150.https://m.sfccn.com/index.php?s=2020/8-3/4NMDE0MDdfMTU4MDM4NQ.html及

https://www.fft.de/zh/company-cn/portrait-cn

151.http://static.sse.com.cn/disclosure/listedinfo/announcement/c/2019-11-21/600655_20191121_1.pdf

152.https://xueqiu.com/7216733084/145086553

153.https://baijiahao.baidu.com/s?id=1700835908061214108&wfr=spider&for=pc

154.https://www.thepaper.cn/newsDetail_forward_7598555

155.详见金徽酒2020年9月公告

156.https://www1.hkexnews.hk/listedco/listconews/sehk/2020/1231/2020123102076_c.pdf

157.https://www1.hkexnews.hk/listedco/listconews/sehk/2021/0903/2021090302246_c.pdf

158.https://www1.hkexnews.hk/listedco/listconews/sehk/2021/1015/2021101501309_c.pdf

 

Copyright © 2022 Profound Asset Investment Limited All rights reserved.

Copyright © 2022 Beijing Shengao Investment All rights reserved.

Investor Commitment

To whom It May Concern:

Before continuing to browse the company’s website, please read this important notice carefully, scroll the page to the “accept” or “abandon” button at the end of this page, and choose to continue browsing or abandon according to your specific situation. By clicking the “Accept” button, it is deemed that you have read and determined that you are qualified as a qualified investor and are willing to abide by this reminder.

1. Qualified investors. According to the relevant provisions of the “Securities Investment Fund Law of the People’s Republic of China”, “Interim Measures for the Supervision and Administration of Private Investment Funds” and other relevant laws and regulations, the investors of private investment funds should have the corresponding risk identification ability and risk-taking ability, invest in companies Units and individuals whose amount of a single private equity fund product is not less than 1 million yuan and meet the following relevant standards:

(1) Units with net assets of not less than 10 million yuan;

(2) Individuals whose financial assets are not less than 3 million yuan or whose average annual personal income in the last three years is not less than 500,000 yuan.

The financial assets mentioned in the preceding paragraph include bank deposits, stocks, bonds, fund shares, asset management plans, bank wealth management products, trust plans, insurance products, futures rights and interests, etc.

Investors should carefully read the legal documents of the product, understand the risk-return characteristics of the product, and judge whether the product is suitable for their own risk tolerance according to their own investment purpose, investment period, investment experience, asset status, etc.

2. There are risks involved in participating in private investment funds. The net worth of private investment funds may fluctuate greatly, and may fall sharply in a short period of time, causing investors to lose part or all of their investment amount. The manager’s past performance data does not indicate its future performance. Investors should not rely on the data provided on this website to make investment decisions, and bear the corresponding risks of the investment decisions made.

3. Information published on this website. The various information and data contained in this website are for reference only and do not constitute an advertisement or an offer to sell, or a recommendation to buy any securities, funds or other investment vehicles. Investors should carefully review the contract documents of relevant financial products to understand their risk factors, or seek advice from professional investment advisors.

All kinds of information and data contained in this website are information that we deem legal or have been made public, but only represent the analysis, speculation and judgment of Shenzhen High Investment at the time of publication. It may be that the accuracy or completeness of the information when you read it has been change. Shenzhen High Investment will clearly state the source and source of information, data and materials from third parties, but we do not make any guarantees for the accuracy, adequacy or completeness of the relevant information provided by third parties. The company or its shareholders and Employees are not responsible for any errors or omissions in the information provided by third parties on this website. Investors are advised to discriminate and judge carefully.

4. Statement of rights and legal jurisdiction. Under no circumstances shall you copy, reproduce or retransmit all or any part of the materials on this website without the written permission of Shenzhen High Investment. All copyrights, patents, intellectual property rights and other property rights related to the materials contained in this website are owned by Shenzhen High Investment. Shenzhen High Investment does not issue, assign or in any way transfer any rights of any kind to persons viewing this information.

Access to, access to and use of this website, as well as these terms and conditions, are governed by and construed in accordance with the laws of the People’s Republic of China.

Hereby remind!

I have carefully read the hint